罗茨风机的皮带,一般在出厂时就已经装配好了,不需要我们单独进行安装,有些企业和公司,只需要采购风机的机头,这需要我们自行安装,皮带出现破损之后,也需要我们自行安装。关于罗茨风机皮带如何安装,来看下华东风机为大家总结的知识点吧!
罗茨风机的三角胶带为窄V带。窄V带轮和窄V带的安装正误直接影响皮带的寿命及机组的使用性能,安装时,应注意下列事项:
(1)窄V带安装时应松开电机紧固螺栓和滑轨调节螺钉,缩小中心距,不可强行撬入。
(2)窄V带及带槽不得沾有油污杂质。

(3)考虑到新皮带的初期伸长率,新带调整好后最好在风机铭牌允许的性能范围内运行二小时左右张紧一次。张紧的程度是保证窄V带运行时既不打滑又不太紧。窄V带的张紧度可以通过检查皮带挂重时挠度的大小来确定。给定外力W垂直作用在窄V带上侧中点处,当产生的挠度满足:S=0.016a(mm)时,即表示窄V带张力适中,W值在76.4~101.9N的范围,以取中间值为宜。

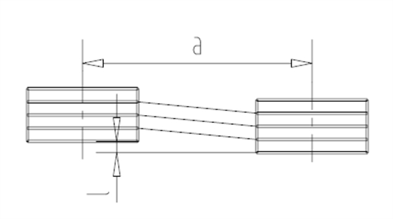
(4)用直尺或调线检查二带轮之间的位置,如下图所示,调整好后各带轮轴线应相互平行,带轮对应轮槽的对称平面应重合,其偏差β≤20’,l≤1.6a/1000。


(5)安装调整好后,电机联接螺栓及滑轨调节螺钉必须呈紧固状态。
(6)换带时应使用相同规格的皮带,并且新旧皮带不可混用,换带轮时应保证与原带轮型号规格完全一致。
(7)为了保证皮带运行中的防护及安全,应安装防护罩。长时间停车应将皮带松开。
重点:皮带更换和调整皮带的松紧度
想必很多朋友对罗茨风机的皮带更换感兴趣,下面华东风机就和大家来说一下,更换皮带时,需要调整电机的底座螺栓,然后根据松紧度来进行调整。
松紧度调整:单手握住皮带,然后能够旋转90度,即可达到标准,或者按照上面的方式进行调整。
华东风机专业生产罗茨风机,如果您有此方面的需求,可以联系我们的官方客服热线4008-797-786
推荐阅读:罗茨风机消音器

空气悬浮鼓风机
三叶罗茨风机(皮带传动)
罗茨式蒸汽压缩机
